氧氣瓶和乙炔瓶的安全距離

2019-03-0513:11:47氧氣瓶和乙炔瓶的安全距離已關閉評論

氧氣瓶和乙炔瓶的安全距離

在一般工貿行業,可適用《焊接與切割安全》和《常用危險化學品貯存通則》,則乙炔、氧氣瓶之間存放安全距離不低于2m,氣瓶與明火距離5m以上。如果出于安全考慮,距離越遠越好。通常按行業的標準或安全規程執行。氧氣乙炔瓶在使用時兩者的距離不能小于5米,距離明火不能小于10米。如果是存放的話,兩庫房的距離也不應該小于10米,并且要求通風、干燥,有明顯的安全警示標識及消防措施。

 

1. 氧氣瓶簡介

氧氣瓶是貯存和運輸氧氣的一種高壓容器,其外表涂天藍色,瓶體上用黑色涂料(黑漆)標注“氧氣”兩字。常用氣瓶的容積為40L,在15MPa的壓力下,可貯存6m3的氧氣。由于瓶內壓力高,而且氧氣是極活潑的助燃氣體,因此必須嚴格按照安全操作規程使用。

2. 氧氣瓶的使用

(1)室內或室外使用氧氣瓶時,都必須將氧氣瓶妥善安放,以防止傾倒。在露天使用時,氧氣瓶必須安放在涼棚內,以避免太陽光的強烈照射。

img3

圖1-1 氧氣瓶的構造

氧氣瓶的形狀和構造如圖1-1所示,由瓶體、瓶帽、瓶閥及瓶箍等組成。

1—瓶體;2—防震橡膠圈;3—瓶箍;

4—瓶閥;5—瓶帽

(2)氧氣瓶一般應該直立放置,只在個別情況下才允許臥置,但此時應該把瓶頸稍微擱高一些。

(3)氧氣瓶上嚴禁沾染油脂,也不允許戴有油脂的手套去搬運氧氣瓶,以免發生事故。

(4)取瓶帽時,只能用手或扳手旋取,禁止用鐵錘等鐵器敲擊。

(5)冬季使用氧氣瓶時,如果氧氣瓶凍結應該使用浸了熱水的棉布蓋上使其解凍,嚴禁采用明火直接加熱。

(6)使用氧氣瓶時不應該將氧氣瓶的氧氣全部用完,最后至少要剩下0.1MPa壓力的氧氣。

(7)氧氣瓶在運送時應避免互相碰撞,不能與可燃氣體氣瓶、油料以及其他任何可燃物放在一起運輸。在廠內運輸時應用專用小車,并加以固定。

3. 氧氣瓶的集中配組使用

裝配焊接車間往往有若干個焊、割工作崗位,可把氧集中配組供給這些工作點,配氣組裝置可分別設在單獨的房間內,由配氣組氣瓶中的氣體經匯流排管道送到使用工位。

當使用耗氣量多的自動切割或大厚度工件切割時,更宜用氧氣集中配組供氣。使用時,根據氧氣瓶的數量,可分為若干組輪流向集氣管供氣,如圖1-2所示。

img4

圖1-2 氧氣瓶匯流排供氣布置

1—氧氣瓶;2—集中減壓器;3—出口;4—氣閥;5—控制閥;6—集氣管

 

二、乙炔瓶

1. 乙炔瓶簡介

乙炔瓶是一種貯存和運輸乙炔用的容器,其形狀和構造如圖1-3所示,其外表涂白色,并用紅漆標注“乙炔”兩字,瓶口安裝專門的乙炔氣閥。乙炔瓶的工作壓力為1.5MPa,在瓶體內裝有浸滿著丙酮的多孔性填料,能使乙炔穩定而又安全地貯存在乙炔瓶內。當使用時,溶解在丙酮內的乙炔就分解出來,通過乙炔瓶閥流出,而丙酮仍留在瓶內,以便溶解再次壓入的乙炔。乙炔瓶閥下面填料中心部分的長孔內放著石棉,作用是幫助乙炔從多孔填料中分解出來。

通常乙炔瓶內的多孔性填料是采用質輕而多孔的活性炭、木屑、浮石以及硅藻土等合制而成的。

img5

圖1-3 乙炔瓶的構造

1—瓶口;2—瓶帽;3—瓶閥;

4—石棉;5—瓶體;6—多孔性填料;7—瓶座;8—瓶底

2. 乙炔瓶的使用

乙炔瓶內的最高乙炔壓力是1.5MPa。由于乙炔是易燃、易爆的危險氣體,所以在使用時必須謹慎,除了必須遵守氧氣瓶的使用要求外,還應該嚴格遵守下列各點:

(1)乙炔瓶不應遭受劇烈的振動或撞擊,以免瓶內的多孔性填料下沉而形成空洞,影響乙炔的貯存。

(2)乙炔瓶在工作時應直立放置,因為臥放時會使丙酮流出,甚至丙酮會通過減壓器而流入乙炔橡膠氣管和焊割炬內,引起燃燒和爆炸。

(3)乙炔瓶體的表面溫度不應超過30~40℃,因為乙炔溫度過高會降低丙酮對乙炔的溶解度,而使瓶內的乙炔壓力急劇增高。

(4)乙炔減壓器與乙炔瓶的瓶閥連接必須可靠,嚴禁在漏氣的情況下使用,否則會形成乙炔與空氣的混合氣體,一旦觸及明火就會造成爆炸事故。

(5)使用乙炔瓶時,不能將瓶內的乙炔全部用完,最后應剩下0.05~0.1MPa壓力的乙炔氣,并將氣瓶閥關緊防止漏氣。

3. 乙炔瓶的集中配組使用

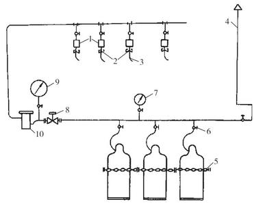
在乙炔需用量大的場合或者用瓶裝乙炔向管道輸氣的場所,可以用匯流排將數瓶乃至數十瓶乙炔連接起來集中配組使用,乙炔匯流排供氣如圖1-4所示。

img6

圖1-4 乙炔瓶匯流排供氣

1、10—回火防止器;2—旋塞;3—乙炔出口;4—乙炔放空管;

5—氣瓶防護鏈;6—氣閥;7、9—壓力表;8—減壓器