表面氣割技術

2019-03-0714:00:23表面氣割技術已關閉評論

1. 焊疤的氣割

割焊疤就是切割掉工件上已經分離開的殘留焊縫金屬。例如,型鋼與拼接板組焊時,需要將型鋼下面通過拼接板上的焊縫加強高割掉。

水平位置割焊疤時的操作如圖5-65所示。

img190

圖5-65 水平位置割焊疤

割焊疤前,將割炬預熱火焰垂直于工件表面對焊疤進行預熱,應采用較大的預熱火焰預熱焊疤,當焊疤被預熱到橘紅色時,要迅速地改變焊炬的位置,使割嘴移到焊疤的左側約40mm處,與工件表面成30°夾角。

焊疤部位預熱不足、切割氧流過大及切割速度不適當會造成切口表面呈現波浪形深溝,應適當加大預熱火焰能率,將焊疤部位預熱到橘紅色,適當減小切割氧流量,并且要適當提高切割速度。切割氧流的強度過大,或者切割氧流變形會使焊疤下的工件受到損傷而出現凹坑。此時,應調整適當切割氧流的強度,或者熄火,重修切割氧孔,使切割氧流恢復正常。

操作時,由小到大、均勻地開啟切割氧流,使其與工件表面的夾角配合,形成一個被折成緊貼于工件的軟氣流。然后移動割炬,均勻地、速度適當地從焊疤的左端平拉到其右端,協調地利用這股軟氣流,就好像臥刀一樣,平平展展地切割掉工件上殘留的焊疤。操作時,割嘴不能太靠近焊疤,否則會使切割氧流不能緊貼工件表面,使切口以下的焊疤還殘留著。應將割嘴適當離開焊疤,調整好割嘴與工件表面的角度,使切割氧流成為一股緊貼工件表面的軟氣流,就能夠切割平殘留的焊疤凸起部分。

垂直位置割焊疤與水平位置割焊疤的操作技法類似,不同的是將割炬由水平位置轉換到垂直位置,如圖5-66所示。

img191

圖5-66 垂直位置氣割焊疤

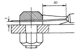
2. 螺栓的氣割

采用火焰切割的方式去掉工件上的不可拆卸的螺栓、鉚釘的操作技法稱為割螺栓。在組焊、維修拆卸鋼結構工件的過程中,遇到無法拆卸的螺栓、鉚釘,可以采用氣割螺栓。

首先將螺栓頭頂部預熱到橘紅色,然后迅速將割嘴水平對著螺栓頭部預熱區,開啟切割氧閥,使切割氧流從螺栓頭頂部中間位置豎直切割到底部,離底部約3mm處停下來,如圖5-67所示。

割嘴向前推進切割掉螺栓頭的一半,割嘴再向后拉切割掉螺栓頭的另一半,留下約3mm的凸起殘余金屬,如圖5-67所示。再將割嘴適當拉遠,參考圖5-65的操作,用緊貼工件的切割氧流水平切割掉殘余的金屬毛邊。切割鉚釘也可以采用此操作技法。

img192

圖5-67 氣割螺栓

此外,還可以采用下面這種方法進行氣割,同樣首先將螺栓頭的底部邊緣預熱到橘紅色,然后迅速將割嘴移開約40mm,如圖5-67所示。開啟切割氧閥,使切割氧流水平切割掉螺栓頭。為了不損傷工件表面,最好先保留約3mm,即粗割。接著進行精割,即用水平的緊貼工件表面的軟氣流切割掉螺栓頭上不整齊的殘留金屬,操作參考圖5-65。

在割螺栓操作中應該注意,螺栓、鉚釘與工件相比要小得多,很容易被預熱到燃燒狀態,而工件面積大,溫度要相對低得多。因此,切割螺栓時,動作要迅速、準確、先粗后精,特別注意不要損傷工件的表面金屬。細心、適當地運用好切割氧流,分清工件與螺栓不同顏色,就不會損傷工件表面的金屬。

3. 冒口的氣割

割冒口是用割炬將鑄鋼件上的澆鑄冒口切割掉,鑄鋼件的澆冒口通常都是圓形截面,其氣割操作技能與氣割圓鋼相同。鑄鋼件的冒口一般直徑比較大,而且還要進行機械加工,對切口表面粗糙度要求不嚴,常采用擺動切割操作技法,即割炬做月牙形橫向擺動。

氣割前必須把待割處表面的型砂等污物清除干凈。實際中應盡可能在鑄件尚未冷卻時將澆冒口割掉。若割前鑄件已完全冷卻,則氣割時應用兩把割炬,一把用于氣割,另一把用于預熱。起割點應選擇在有棱角的地方,以便于起割。

首先用較大的預熱火焰將割嘴垂直對著冒口右邊進行預熱,直到預熱區呈現出橘紅色。然后按逆時針方向翻轉割嘴約90°,并且由小到大均勻地開足切割氧閥,使切割氧流相切于剛剛呈現橘紅色的預熱區,如圖5-68(a)所示。

當看到在切割氧流強大的壓力作用下,氧化鐵水沿水平方向朝外噴出后,左手托著割炬頭部附近的混合氣管和切割氧管,右手正握割炬手柄輕微地、均勻地、有節奏地向左前方做月牙形擺動切割,如圖5-68(b)所示。

img193

圖5-68 氣割冒口

在割冒口操作過程中,采用波動的切割氧流,可以使切口寬度增加數倍,大大提高了氧化鐵水的排放能力,從而大大提高了割冒口的工作效率。

當切割氧壓力調整不足、開啟閥門開啟不足、冒口上沒有清整干凈、鑄件上殘留有沙塊時,會出現氧化鐵水從切口中翻出的現象,此時應針對造成故障的原因采取措施,如增強切割氧流的穿透能力及清除或避開冒口上的沙塊。

在割冒口操作中,若把握不好割炬會使冒口切口偏斜,在沒有把握的情況下,應先切割得高一些,待冒口頭切割掉以后再精修一下。